製品検索製品検索
家電用センサ
概要
ガステーブル、IH調理器、エアコン、冷蔵庫、給湯器等に耐久性、信頼性に優れたサーミスタセンサが要求されています。
-
炊飯器用センサ1
特長
・炊飯器の上蓋に取付、蒸気温度の測定が可能です。
・使用環境に応じて保護管の形状や材質のカスタマイズ可能です。
用途例
・炊飯器の蒸気温度測定
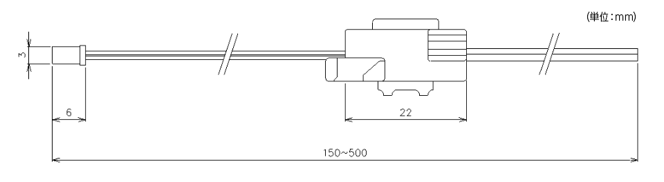
仕様
使用温度範囲 -20℃~180℃(保護管・パッキン部のみ) 熱時定数 約6.5秒(アルミ表面上) 絶縁耐圧 AC.1500V 3秒 絶縁抵抗 DC.500V 100MΩ以上 抵抗値 R75=13.8kΩ ※左記以外の特性についてはご相談下さい。 B定数 R75/100=4100K ※左記以外の特性についてはご相談下さい。 構造
<材質> 感熱部:セラミック(Al2O3) 電線: 架橋ポリエチレン電線
-
炊飯器用センサ2
特長
・炊飯器の底に取付、内釜の鍋底に密着させることで内釜温度の測定が可能です。
・使用環境に応じて保護管の形状や材質のカスタマイズ可能です。
用途例
・炊飯器内窯の鍋底温度測定
仕様
使用温度範囲 -20℃~200℃(保護管部のみ) 熱時定数 約15秒(アルミ表面上) 絶縁耐圧 AC.1500V 3秒 絶縁抵抗 DC.500V 100MΩ以上 抵抗値 R100=6.282kΩ ※左記以外の特性についてはご相談下さい。 B定数 R75/100=4200K ※左記以外の特性についてはご相談下さい。 構造
<材質> 感熱部:アルミニウム(A1100P) 電線: シリコーンゴムガラス編組電線
-
電子レンジ用センサ
特長
・庫内に容易にネジ止めし、調理温度を測定することが可能です。
・高温下での使用が可能です。
用途例
電子レンジ・オーブンの庫内温度測定
仕様
使用温度範囲 -20℃~260℃ 熱時定数 約90秒(静止空気中) 絶縁耐圧 AC.1200V 1秒 絶縁抵抗 DC.500V 100MΩ以上 抵抗値 R200=1kΩ ※左記以外の特性についてはご相談下さい。 B定数 R100/200=4537K ※左記以外の特性についてはご相談下さい。 構造
<材質> 感熱部:ステンレス(SUS316L) 電線: 架橋ポリエチレン電線
-
エアコン・ヒートポンプ用センサ1
特長
・取付金具で容易に配管へ取付ができ、熱交換器の温度を測定することができます。
・銅管、アタッチメントは各種ラインナップがあります。
用途例
エアコンの熱交換器(配管)吐出管の温度測定
仕様
使用温度範囲 -30℃~105℃(保護管部のみ) 熱時定数 約6秒(攪拌水中) 絶縁耐圧 AC.1200V 1秒 絶縁抵抗 DC.500V 100MΩ以上 抵抗値 R25=50kΩ ※左記以外の特性についてはご相談下さい。 B定数 R25/50=3990K ※左記以外の特性についてはご相談下さい。 構造
<材質> 感熱部:真鍮(C1220) 電線:耐熱塩化ビニル電線
-
エアコン・ヒートポンプ用センサ2
特長
取付位置の雰囲気温度の測定が可能です。
用途例
室内および室外温度、吸排気温度の測定
仕様
使用温度範囲 -30℃~100℃ 熱時定数 約4秒(攪拌水中) 絶縁耐圧 AC.1200V 1秒 絶縁抵抗 DC.500V 100MΩ以上 抵抗値 R25=30kΩ ※左記以外の特性についてはご相談下さい。 B定数 R25/50=4500K ※左記以外の特性についてはご相談下さい。 構造
<材質> 感熱部:エポキシ樹脂 電線:耐熱塩化ビニル電線
-
ファンヒーター用センサ1
特長
・灯油気化器に埋め込み、気化器温調を行うことが可能です。
・高温での使用が可能です。
用途例
ファンヒーターの気化器の温度調整
仕様
使用温度範囲 -20℃~450℃(保護管部のみ) 熱時定数 約27秒(攪拌油中) 絶縁耐圧 AC.1500V 3秒 絶縁抵抗 DC.500V 100MΩ以上 抵抗値 R300=25kΩ ※左記以外の特性についてはご相談下さい B定数 R250/300=5100K ※左記以外の特性についてはご相談下さい 構造
<材質> 感熱部:真鍮(C3604BD) 電線:耐熱塩化ビニル電線
-
ファンヒーター用センサ2
特長
・灯油気化器に埋め込み、気化器温調を行うことが可能です。
・高温での使用が可能です。
用途例
ファンヒーターの気化器の温度調整
仕様
使用温度範囲 -20℃~400℃(保護管部のみ) 熱時定数 約25秒(静止空気中) 絶縁耐圧 - 絶縁抵抗 DC.500V 100MΩ以上 抵抗値 R250=1.436kΩ ※左記以外の特性についてはご相談下さい。 B定数 R150/250=5050K ※左記以外の特性についてはご相談下さい。 構造
<材質> 感熱部:真鍮(C3604BD) 電線:耐熱塩化ビニル電線







